
Медогонка 16-рамкова автоматична напівповоротна, Ø 900 мм. Привід ремінний
- Готово до відправки
- Код: 16HABN
76 913 ₴
Медогонка 16-рамкова автоматична полуповоротная (далі - медогонка) призначена для вилучення бджолиного меду з роздрукованих соторамок під дією відцентрової сили.
Особливістю даної медогонки є конструкція ротора. Він має роздільні пластини. Касети при обертанні ротора не прилягають до обода ротора а до окремих пластин, які в свою чергу спираються на касети. Таким чином в тому ж діаметрі бака розміщується більше касет. Невеликий «недоворот» касет сприяє кращій відкачування меду, так як осередку теж розташовані під невеликим кутом до горизонту. Каркас ротора зварений з профільної труби, не має перегородок у верхній завантажувальної частини, що більш зручно при завантаженні-вивантаженні рамок. Ротор такої конструкції краще сприймає дисбаланс від нерівних по масі рамок, пружно компенсує його, коливання в меншій мірі передаються на саму медогонку, в результаті чого вона стає більш стійкою.
Привід медогонки складається з електродвигуна і 2-х ступінчастою пасової передачі, закритим кожухом. Живлення електродвигуна – 24В постійного струму, може здійснюватися від мережі змінного струму 220В через трансформатор-випрямляч, який встановлений в нижній частині медогонки, або від двох послідовно включених акумуляторів 12В.
Касети з рамками автоматично встановлюються в неробочому положенні по радіусу до центра і повертаються при обертанні ротора медогонки в ту чи іншу сторону в залежності від напрямку обертання ротора. Режим роботи медогонки встановлюється відповідними важелями на блоці управління. Медогонка може працювати в ручному або автоматичному режимі.
Робота медогонки в ручному режимі (РВ)
Швидкість, напрямок і час обертання в цьому режимі встановлюються на пульті блоку керування вручну за допомогою відповідних важелів. Після закінчення обертання в одну із сторін, або натискання кнопки «Стоп» виконується витримка 22 сек. Після зупинки, коли буде світитися індикатор кнопки «Стоп», буде можливий доступ до подальшої роботи з пультом - наприклад, включення реверсу або вхід в меню програмування.
| Характеристика ручного режиму | |
| Діапазон обертів/хв | 50....160 |
| Час роботи, хв | 0...5 |
| Напрямок обертання | Вперед/Назад |
| Основні технічні дані | |
| Струм живлення електродвигуна, постійний, | 24 |
| Потужність електродвигуна, Вт | 300 |
| Кількість програм управління | 6+ручний режим |
| Продуктивність (за програмою Р5, якщо час на завантаження-вивантаження ~ 1 хв), рамок / год |
170 |
| Ремінь 1-го ступеня приводу (переріз; довжина) | 0;1000 |
| Ремінь 2-го ступеня приводу (переріз; довжина) | А;1000 |
| Маса не більше, кг | 130 |
| Обсяг меду, який накопичується в медогонці між його обов'язковими сливами (рівень нижніх спиць ротора), л |
120 |
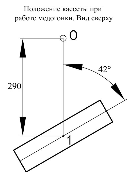
| Кут повороту касет (а) | 63о17' |
| Відстань від осі обертання медогонки в центр (R), мм | 440 |
| Габаритні розміри, мм | |
| Діаметр бака | 1200 |
| Висота бака | 750 |
| Висота медогонки з підставкою | 1110 |
| Ширина | 1400 |
| Необхідна ширина дверей для занесення-виносу медогонки в приміщення в розібраному вигляді, не менше, мм | 1000 |
| Тип рамки | Дада, Магазинна (2шт), Рут, Шведська, Датська, Великопольская |


т. О – вісь обертання (вісь медогонки)
т. 1 – центр касети
Робота медогонки в автоматичному режимі
Для роботи медогонки в автоматичному режимі необхідно вибрати на пульті керування одну з програм (Р1; Р2; Р3; Р4; Р5; Р6). Швидкість обертання, кількість поворотів а також час відкачування запрограмовані на підприємстві-виробнику і є незмінними для кожної програми. Після закінчення обертання в одну із сторін, як і в ручному режимі, виконується витримка 22 сек.
Характеристики автоматичного режиму
| Програма | Напрямок обертання | ||||
| Вперед | Тому | Вперед | Тому | ||
| Р1 | Об/хв. | 80 | 110 | 110 | |
| Час роботи (хв) | 1,5 | 1,5 | 1,5 | ||
| Р2 | Об/хв. | 80 | 130 | 130 | |
| Час роботи (хв) | 1,5 | 1,5 | 1,5 | ||
| Р3 | Об/хв. | 80 | 80 | 150 | 150 |
| Час роботи (хв) | 1 | 1 | 1,5 | 1,5 | |
| Р4 | Об/хв. | 80 | 110 | 110 | |
| Час роботи (хв) | 1,5 | 1,5 | 1,5 | ||
| Р5 | Об/хв. | 110 | 110 | ||
| Час роботи (хв) | 2 | 2 | |||
| Р6 | Об/хв. | 130 | 130 | ||
| Час роботи (хв) | 2 | 2 | |||
| Торгове позначення | Матеріал основних частин | Особливості моделі медогонки | ||
| Бак | Касети | Ротор | ||
| 16HABM2 | нержавіючий (Лист 0.8 мм AISI 304) |
нержавіючі (Прут Ø 2 Ø 4 мм AISI 304) |
нержавіючий | з кришкою і блоком управління моделі 2 АВ (див. Медогонка 8-рамкова автоматична під рамку "Рут") |
| Основні атрибути | |
|---|---|
| Виробник | АВВ-100 |
| Країна виробник | Україна |
| Ширина | 1400 мм |
| Користувальницькі характеристики | |
| Вага | 130 |
| Висота | 1100 |
| Діаметр | 1200 |
| Кількість рамок | 16 |
| Тип | Автоматичний |
| Основні | |
| Матеріал | Нержавіюча сталь |
| Привід медогонки | Пасовий |
| Тип рамок | Поворотні |
- Ціна: 76 913 ₴



